Tải bản đầy đủ (.docx) (43 trang)

THỰC TRẠNG KẾ TOÁN VỐN BẰNG TIỀN TẠI TỔNG CÔNG TY THÉP VIỆT NAM

Bạn đang xem bản rút gọn của tài liệu. Xem và tải ngay bản đầy đủ của tài liệu tại đây (279.94 KB, 43 trang )

1
THỰC TRẠNG KẾ TOÁN VỐN BẰNG TIỀN TẠI TỔNG CÔNG TY
THÉP VIỆT NAM
2.1 Đặc điểm vốn bằng tiền tại Tổng công ty Thép Việt Nam
2.1.1 Phân loại vốn bằng tiền sử dụng tại Tổng công ty
Vốn bằng tiền là một bộ phận quan trọng của vốn kinh doanh tồn tại
trực tiếp dưới hình thái tiền tệ. Vốn bằng tiền được sử dụng tại công ty bao
gồm tiền mặt tại quỹ, tiền gửi ngân hàng và tiền đang chuyển. Trong đó tiền
mặt tại quỹ và tiền gửi ngân hàng của Tổng công ty được theo dõi chi tiết theo
tiền Việt Nam, tiền ngoại tệ và vàng, bạc, kim khí quý, đá quý; tiền đang
chuyển chỉ theo dõi tiền Việt Nam và tiền ngoại tệ. Với tiền gửi ngân hàng,
Tổng công ty theo dõi từng khoản tiền gửi tại 28 ngân hàng trong nước và
nước ngoài. Mỗi loại vốn bằng tiền đều sử dụng vào những mục đích khác
nhau và có yêu cầu quản lý từng loại nhằm quản lý chặt chẽ tình hình thu chi
và đảm bảo an toàn cho từng loại sử dụng có hiệu quả tiết kiệm và đúng mục
đích. Tổng công ty sử dụng đơn vị tiền tệ thống nhất là Đồng Việt Nam
(VNĐ).
2.1.2 Ý nghĩa, nhiệm vụ kế toán vốn bằng tiền tại Tổng công ty
Vốn bằng tiền mang ý nghĩa rất lớn trong hoạt động sản xuất kinh
doanh của Tổng công ty, nó vừa được sử dụng để mua các vật tư nguyên liệu
đầu vào cho quá trình sản xuất, vừa được sử dụng để thanh toán các khoản nợ,
các khoản ứng trước, các dự án đầu tư…, đồng thời cũng là kết quả của quá
trình sản xuất kinh doanh, quá trình đầu tư hoặc thu hồi các khoản nợ. Chính
vì vậy, quy mô vốn bằng tiền sẽ phản ánh khả năng thanh toán tức thời và tình
hình sử dụng vốn lưu động của Tổng công ty. Thông qua việc quản lý, theo
dõi việc sử dụng vốn bằng tiền, ban quản trị Tổng công ty có thể nắm bắt
được quá trình luân chuyển vốn, công tác sử dụng vốn như thế nào để từ đó
2
đưa ra các quyết định quản lý phù hợp với Tổng công ty trong từng giai đoạn
cụ thể.
Việc sử dụng vốn bằng tiền cần phải đảm bảo tuân thủ các nguyên tắc,


chế độ quản lý chặt chẽ và khoa học để tránh tình trạng sử dụng sai mục đích
và đạt hiệu quả không cao. Vì thế, hạch toán vốn bằng tiền tại Tổng công ty
phải thực hiện các nhiệm vụ sau:
- Phản ánh chính xác, kịp thời các khoản thu, chi và tình hình còn lại
của từng loại vốn bằng tiền, hàng ngày đối chiếu lượng tiền còn lại trên thực
tế với sổ sách, báo cáo số dư với kế toán trưởng, đảm bảo phát hiện kịp thời
các sai sót trong việc quản lý và sử dụng các khoản vốn bằng tiền.
- Giám sát việc chấp hành các chế độ và quy định về sử dụng vốn bằng
tiền theo các quy định pháp luật hiện hành và của Tổng công ty.
- Phản ánh, theo dõi các khoản tiền đang chuyển, kịp thời phát hiện các
dấu hiệu bất thường như ách tắc, nhầm lẫn trong luân chuyển… để có biện
pháp giải quyết thích hợp.
2.1.3 Yêu cầu quản lý vốn bằng tiền tại Tổng công ty
Nhằm làm công tác sử dụng vốn bằng tiền hiệu quả, tránh xảy ra các
vấn đề như gian lận, tham ô, móc ngoặc của các nhân viên trong Tổng công
ty, ngoài việc theo dõi các khoản tăng, giảm tiền tại quỹ, tiền gửi ngân hàng
và tiền đang chuyển, giám sát việc chấp hành chế độ và quy định sử dụng vốn
bằng tiền, Tổng công ty đưa ra các yêu cầu cụ thể sau để quản lý hiệu quả:
- Có sự tách biệt giữa người giữ tiền mặt tại quỹ với người ghi chép sổ
sách kế toán, tức là kế toán tiền mặt không đồng thời làm nhiệm vụ giữ tiền
mặt và ngược lại. Hàng ngày, thủ quỹ kiểm đếm tiền tồn quỹ, đối chiếu với sổ
quỹ và có trách nhiệm báo cáo số dư với Kế toán trưởng. Định kỳ cuối mỗi
tháng, Tổng công ty thực hiện kiểm kê quỹ 1 lần, trong đó phải có sự có mặt
của Kế toán trưởng và thủ quỹ, ngoài ra có thể có sự theo dõi của các phó
3
trưởng phòng để tăng tính minh bạch trong kiểm kê quỹ. Công tác kiểm kê
quỹ quy định rõ trách nhiệm cá nhân trong việc quản lý tiền tại quỹ.
- Tách chức năng phê duyệt thu chi tiền với chức năng giữ tiền và ghi
sổ kế toán.
- Ghi danh sách các hóa đơn thu tiền mặt theo thời điểm thu tiền và nơi

nhận tiền.
- Thực hiện thanh toán chủ yếu qua ngân hàng, chỉ dùng tiền mặt cho
các khoản chi tiêu lặt vặt trong Tổng công ty.
2.2 Kế toán tiền mặt tại quỹ
2.2.1 Chứng từ sử dụng
Các nghiệp vụ sử dụng tiền mặt tại quỹ tại Tổng công ty thường không
nhiều với quy mô của nghiệp vụ thường nhỏ. Các nghiệp vụ chủ yếu liên quan
đến tiền mặt tại quỹ thường là các tạm ứng (tạm ứng công tác phí cho cán bộ
nhân viên trong Tổng công ty, tạm ứng mua vật dụng, đồ dùng văn phòng,
tạm ứng cho các buổi họp, liên hoan,…), hoạt động tài chính (thu lãi từ bán
hàng chậm trả cho các đơn vị thành viên và các khách hàng khác,…), gửi tiền
mặt vào ngân hàng và các nghiệp vụ thu chi bằng tiền mặt khác.
Các chứng từ được sử dụng là:
- Phiếu thu (lệnh thu), Phiếu chi (lệnh chi);
- Giấy đề nghị tạm ứng, Giấy thanh toán tiền tạm ứng;
- Giấy đề nghị thanh toán;
- Biên lai thu tiền;
- Biên bản kiểm kê quỹ;
- Bảng kê chi tiền.
- Bảng kê vàng, bạc, kim khí quý, đá quý
2.2.2 Kế toán chi tiết tiền mặt tại quỹ
4
Tiền mặt với đặc điểm là gọn nhẹ, dễ di chuyển, lại thường xuyên tiếp
xúc với con người nên khả năng hao hụt, mất mát là rất cao. Bởi vậy, tất cả
các khoản thu chi tại quỹ đều phải có lệnh thu, lệnh chi có đầy đủ chữ ký của
Giám đốc hoặc người được ủy quyền và Kế toán trưởng. Khi người có nhu
cầu thu (chi) tiền yêu cầu thu (chi) tiền thì phải có lệnh thu (lệnh chi) có đủ
chữ ký như đã nêu trên. Các chứng từ này được chuyển cho Kế toán tiền mặt
lập Phiếu thu (Phiếu chi) bằng cách nhập dữ liệu vào phần mềm kế toán đang
sử dụng (phần mềm kế toán FAST) rồi in ra. Sau khi nhận được Phiếu thu

(Phiếu chi), Thủ quỹ tiến hành thu (chi), ký tên, đóng dấu “Đã thu tiền” hoặc
“Đã chi tiền” lên Phiếu thu (Phiếu chi), đồng thời tiến hành ghi vào Sổ quỹ
tiền mặt theo các thông tin tương ứng. Kế toán tiền mặt nhận lại chứng từ và
tiến hành ghi sổ kế toán chi tiết Tài khoản 111 bằng phần mềm kế toán, đồng
thời sao lưu dữ liệu vào máy thông qua phần mềm kế toán FAST. Cuối tháng
máy tính tự động vào Sổ tổng hợp chi tiết Tài khoản 111 theo các dữ liệu đã
được nhập trong tháng.
Riêng kế toán tiền mặt là vàng, bạc, kim khí quý, đá quý thì ít nghiệp
vụ hơn nhưng giá trị của các chúng thường lớn, vì vậy Tổng công ty sử dụng
phương pháp Nhập trước – Xuất trước để quy đổi sang VNĐ khi hạch toán.
Các sổ kế toán chi tiết được sử dụng là Sổ chi tiết tài khoản 111 – chi
tiết theo loại tiền và Sổ quỹ tiền mặt.
Các nghiệp vụ liên quan đến tiền mặt tại quỹ chủ yếu thuộc hai loại là
nghiệp vụ thu tiền và nghiệp vụ chi tiền. Do thời lượng nghiên cứu có hạn,
sau đây em chỉ lấy một vài ví dụ cụ thể về 2 loại nghiệp vụ này đối với đồng
Việt Nam được hạch toán tại Tổng công ty:
Ví dụ 1: Công ty CP Kim khí Hà Nội mua 200 tấn thép tấm lá SCPP-
1B của Tổng công ty, trị giá lô hàng là 254.250.000đ vào ngày 11/11/2008,
khách hàng thanh toán theo phương thức trả chậm, lãi suất chậm trả tính theo
5
lãi suất ngân hàng vào các ngày 10, 20 và ngày cuối cùng hàng tháng. Khách
hàng chấp nhận trả lãi vào cuối mỗi tháng, tiền gốc trả sau 3 tháng.
Định kỳ vào các ngày 10, 20 và ngày cuối cùng hàng tháng, kế toán
thanh toán tính ra tiền lãi phải thu của khách hàng – chi tiết Công ty CP Kim
khí Hà Nội.
Ngày Lãi suất (%/tháng) Thành tiền (VNĐ)
20/11/2008 1,25 953.437,500
30/11/2008 1,30 881.400,000
10/12/2008 1,40 1.186.500,000
` 20/12/2008 1,42 1.203.450,000

31/12/2008 1,40 1.305.150,000
Thời điểm ngày 31/12, Công ty CP Kim khí Hà Nội tiến hành trả số
tiền lãi bằng tiền mặt. Kế toán tiền mặt lập Phiếu thu và thực hiện in chứng từ
phục vụ cho quá trình luân chuyển và lưu trữ chứng từ.
6
Mẫu 2.1: Phiếu thu tiền mặt
TỔNG CÔNG TY THÉP Mẫu 01-TT
VIỆT NAM (Ban hành theo QĐ số 15/2006/QĐ-BTC
91 Láng Hạ, Q.Đống Đa, HN ngày 20/3/2006 của Bộ trưởng BTC)
PHIẾU THU TIỀN MẶT Liên số: …
Ngày 31/12/2008 Số phiếu: 22
Tài khoản: 1111 3.695.100
Tài khoản đ.ư: 13111 3.695.100
Người nộp: Nguyễn Thị Hương
Địa chỉ: Công ty CP Kim khí Hà Nội
Số 20, Tôn Thất Tùng, Q. Đống Đa, HN
Về khoản: KH Thanh toán lãi chậm trả hàng mua
Số tiền: 3.695.100 VNĐ
Bằng chữ: Ba triệu sáu trăm chín mươi lăm nghìn một trăm đồng chẵn.
Kèm theo … chứng từ gốc. Chứng từ gốc: ……
GIÁM ĐỐC KẾ TOÁN TRƯỞNG NGƯỜI LẬP PHIẾU
(Ký, họ tên, đóng dấu) (Ký, họ tên) (Ký, họ tên)
Đã nhận đủ số tiền (viết bằng chữ):....................................................................
Ngày …tháng…năm…
NGƯỜI NỘP TIỀN THỦ QUỸ
(Ký, họ tên) (Ký, họ tên)
Thủ quỹ nhận Phiếu thu, tiến hành thu tiền, ký xác nhận và đóng dấu
“Đã thu tiền” lên Phiếu thu, đồng thời tiến hành ghi sổ quỹ tiền mặt. Trên
thực tế, do sử dụng kế toán máy nên ngay khi kế toán tiền mặt lập xong phiếu
thu, máy đã tự động nhập các thông tin vào Bảng kê số 1, sổ quỹ tiền mặt và

sổ chi tiết tài khoản 1111 – Tiền mặt Việt Nam.
7
Mẫu 2.2: Bảng kê số 1 – Ghi nợ TK 1111
TỔNG CÔNG TY THÉP Mẫu S04b1-DN
VIỆT NAM (Ban hành theo QĐ 15/2006/QĐ-BTC
91 Láng Hạ, Q.Đống Đa, HN ngày 20/3/2006 của Bộ trưởng BTC)
BẢNG KÊ SỐ 1
Ghi nợ TK 1111 – Tiền mặt Việt Nam
Từ ngày 31/12/2008 đên ngày 31/12/2008
Số dư đầu tháng:…
Đơn vị: VNĐ
STT Ngày Có TK 13111 … Cộng ps nợ Dư cuối ngày
… … … ... … …
… 31/12/08 3.695.100 … 3.695.100 3.695.100
… … … … … …
Cộng
Số dư cuối tháng:…
Đã ghi sổ cái, ngày 31 tháng12 năm 2008
Lập 31 tháng12 năm 2008
KẾ TOÁN GHI SỔ KẾ TOÁN TỔNG HỢP KẾ TOÁN TRƯỞNG
(Ký, họ tên) (Ký, họ tên) (Ký, họ tên)
Ví dụ 2: Ngày 05/12/2008, Trần Thị Hoài – nhân viên Văn phòng Tổng
công ty tạm ứng 550.000đ tiền mua vật dụng văn phòng cho các phòng ban
trong Tổng công ty.
Sau khi kiểm tra các thông tin đầy đủ, hợp lệ trên Giấy đề nghị tạm
ứng, kế toán tiền mặt nhập dữ liệu vào máy tính để lập phiếu chi cho nghiệp
vụ tạm ứng:
Mẫu 2.3: Phiếu chi tiền mặt
TỔNG CÔNG TY THÉP Mẫu 02-TT
VIỆT NAM (Ban hành theo QĐ số 15/2006/QĐ-BTC

91 Láng Hạ, Q.Đống Đa, HN ngày 20/3/2006 của Bộ trưởng BTC)
8
PHIẾU CHI TIỀN MẶT Liên số: …
Ngày 05/12/2008 Số phiếu: 25
Tài khoản: 1111 550.000
Tài khoản đ.ư: 141 550.000
Người nhận: Trần Thị Hoài
Địa chỉ: Văn phòng Tổng công ty Thép Việt Nam
Về khoản: Tạm ứng cho nv mua vật dụng vp
Số tiền: 550.000 VNĐ
Bằng chữ: Năm trăm năm mươi nghìn đồng chẵn.
Kèm theo … chứng từ gốc. Chứng từ gốc: ……
GIÁM ĐỐC KẾ TOÁN TRƯỞNG NGƯỜI LẬP PHIẾU
(Ký, họ tên, đóng dấu) (Ký, họ tên) (Ký, họ tên)
Đã nhận đủ số tiền (viết bằng chữ):....................................................................
Ngày …tháng…năm…
NGƯỜI NHẬN TIỀN THỦ QUỸ
(Ký, họ tên) (Ký, họ tên)
Phiếu chi được in ra và chuyển đến Thủ quỹ. Thủ quỹ tiến hành chi
quỹ, ký xác nhận và đóng dấu “Đã chi tiền” lên Phiếu chi. Tương tự trường
hợp thu tiền, khi kế toán tiền mặt lập phiếu chi thì máy tự động nhập các
thông tin đó vào Nhật ký chứng từ số 1, Sổ quỹ tiền mặt, Sổ chi tiết Tài khoản
1111 – Tiền mặt Việt Nam. Các sổ này được in ra phải đảm bảo có đầy đủ
chữ ký của những người có thẩm quyền.
9
Mẫu 2.4: Nhật ký chứng từ số 1 – Ghi có TK 1111
TỔNG CÔNG TY THÉP Mẫu S04a1-DN
VIỆT NAM (Ban hành theo QĐ 15/2006/QĐ-BTC
91 Láng Hạ, Q.Đống Đa, HN ngày 20/3/2006 của Bộ trưởng BTC)
NHẬT KÝ CHỨNG TỪ SỐ 1

Ghi có TK 1111 – Tiền mặt Việt Nam
Từ ngày 05/12/2008 đến ngày 05/12/2008
Đơn vị: VNĐ
STT Ngày Nợ TK 141 … … Cộng ps có
… … … ... … …
… 5/12/08 550.000 … … 550.000
… … … … … …
… Cộng … … … …
Đã ghi sổ cái, ngày 05 tháng 12 năm 2008
Lập ngày 25 tháng 12 năm 2008
KẾ TOÁN GHI SỔ KẾ TOÁN TỔNG HỢP KẾ TOÁN TRƯỞNG
(Ký, họ tên) (Ký, họ tên) (Ký, họ tên)
Sổ chi tiết tài khoản 1111 được máy tính tự động cập nhật từ bảng kê
số 1 (mẫu 2.2 – trang 27), nhật ký chứng từ số 1 (mẫu 2.4 – trang 29) và các
bảng kê, nhật ký chứng từ khác có liên quan. Dưới đây là mẫu sổ chi tiết tài
khoản 1111 tháng 12/2008 của Tổng công ty:

Mẫu 2.5: Sổ chi tiết tài khoản – TK 1111
TỔNG CÔNG TY THÉP VIỆT NAM Mẫu S38-DN
91 Láng Hạ, Q.Đống Đa, HN (Ban hành theo QĐ số 15/2006/QĐ-BTC
ngày 20/3/2006 của Bộ trưởng BTC)
SỔ CHI TIẾT TÀI KHOẢN
Tài khoản 1111 – Tiền mặt Việt Nam
Từ ngày 01/12/2008 đến ngày 31/12/2008
Số dư nợ đầu kỳ: 886.779.000
Đơn vị: VNĐ
Chứng từ
Khách hàng Diễn giải TK đối ứng
Số phát sinh
Ngày Số Nợ Có

… … … … … … …
05/12/08 PC 25
NV_VPTCT_05 - Trần Thị
Hoài
Tạm ứng cho nv mua vật dụng
vp
141 550.000
… … … … … … …
31/12/08 PT 22
CPKKHN - Cty CP Kim
khí HN
Khách hàng thanh toán lãi chậm
trả hàng mua
13111 3.695.100
…. … … … … … …
Tổng phát sinh nợ: 321.497.000
Tổng phát sinh có: 432.486.000
Số dư nợ cuối kỳ: 775.790.000
Ngày 31 tháng 12 năm 2008
Người ghi sổ Kế toán trưởng
(Chữ ký, họ tên) (Chữ ký, họ tên)
10
Ví dụ 3: Ngày 08/12/2008, Tổng công ty mua 10 chiếc máy vi tính để
thay thế số máy vi tính bị hỏng tại một số phòng ban Tổng công ty. Tổng giá
thanh toán (VAT 10%) ghi trên Hóa đơn GTGT số 01589 là 6,380 USD.
Tổng công ty đã trả ngay bằng tiền mặt. Tỷ giá hạch toán là 16.500/USD, tỷ
giá thực tế trong ngày là 16.791/USD.
Sau khi kiểm tra tính hợp lý, hợp pháp, hợp lệ của Hóa đơn GTGT, kế
toán tiền mặt nhập dữ liệu vào máy tính để lập Phiếu chi cho nghiệp vụ mua
hàng hóa. Đối với nghiệp vụ này, kế toán tiền mặt lập 2 phiếu chi: một phiếu

chi mua máy vi tính và một phiếu chi khoản thuế GTGT được khấu trừ. Cụ
thể như sau:
Mẫu 2.6: Phiếu chi tiền mặt
TỔNG CÔNG TY THÉP Mẫu 02-TT
VIỆT NAM (Ban hành theo QĐ số 15/2006/QĐ-BTC
91 Láng Hạ, Q.Đống Đa, HN ngày 20/3/2006 của Bộ trưởng BTC)
PHIẾU CHI TIỀN MẶT Liên số: …
Ngày 08/12/2008 Số phiếu: 27
Tài khoản: 1112 97.387.800
Tài khoản đ.ư: 1531 97.387.800
Người nhận: Hoàng Văn Huy
Địa chỉ: Công ty TNHH Bách Khoa
18, Lê Thanh Nghị, Q.Hai Bà Trưng, Hà Nội
Về khoản: Chi mua máy vi tính cho văn phòng
Số tiền: 5,800 USD
Bằng chữ: Năm nghìn, tám trăm Đô-la Mỹ chẵn.
Kèm theo … chứng từ gốc. Chứng từ gốc: ……
GIÁM ĐỐC KẾ TOÁN TRƯỞNG NGƯỜI LẬP PHIẾU
(Ký, họ tên, đóng dấu) (Ký, họ tên) (Ký, họ tên)
Đã nhận đủ số tiền (viết bằng chữ):....................................................................
Ngày …tháng…năm…
NGƯỜI NHẬN TIỀN THỦ QUỸ
(Ký, họ tên) (Ký, họ tên)
Tỷ giá thực tế: 16.791 VNĐ/USD
Số tiền quy đổi: 97.387.800 VNĐ
Mẫu 2.7: Phiếu chi tiền mặt
11
TỔNG CÔNG TY THÉP Mẫu 02-TT
VIỆT NAM (Ban hành theo QĐ số 15/2006/QĐ-BTC
91 Láng Hạ, Q.Đống Đa, HN ngày 20/3/2006 của Bộ trưởng BTC)

PHIẾU CHI TIỀN MẶT Liên số: …
Ngày 08/12/2008 Số phiếu: 28
Tài khoản: 1112 9.738.780
Tài khoản đ.ư: 13311 9.738.780
Người nộp: Hoàng Văn Huy
Địa chỉ: Công ty TNHH Bách Khoa
18, Lê Thanh Nghị, Q.Hai Bà Trưng, Hà Nội
Về khoản: Chi thuế GTGT được khấu trừ
Số tiền: 580 USD
Bằng chữ: Năm trăm tám mươi Đô-la Mỹ chẵn.
Kèm theo … chứng từ gốc. Chứng từ gốc: ……
GIÁM ĐỐC KẾ TOÁN TRƯỞNG NGƯỜI LẬP PHIẾU
(Ký, họ tên, đóng dấu) (Ký, họ tên) (Ký, họ tên)
Đã nhận đủ số tiền (viết bằng chữ):....................................................................
Ngày …tháng…năm…
NGƯỜI NHẬN TIỀN THỦ QUỸ
(Ký, họ tên) (Ký, họ tên)
Tỷ giá thực tế: 16.791 VNĐ/USD
Số tiền quy đổi: 9.738.780 VNĐ
Các phiếu chi này được in ra và chuyển đến Thủ quỹ. Thủ quỹ tiến
hành chi quỹ, ký xác nhận và đóng dấu “Đã chi tiền” lên Phiếu chi. Tương tự
như các trường hợp thu, chi tiền VNĐ, khi kế toán tiền mặt lập phiếu chi thì
máy tự động nhập các thông tin đó vào Nhật ký chứng từ số 1, Sổ quỹ tiền
mặt, Sổ chi tiết Tài khoản 1112 – Tiền mặt ngoại tệ. Các sổ này được in ra
phải đảm bảo có đầy đủ chữ ký của những người có thẩm quyền.
Đồng thời kế toán tiến hành điều chỉnh chênh lệch tỷ giá theo bút toán:
Nợ TK 1112: 1.856.580 [= 6380$ x (16.791 – 16.500)]
Có TK 515: 1.856.580
Bút toán này được nhập vào Bảng kê số 1 – ghi nợ tài khoản 1112.
Mẫu 2.8: Nhật ký chứng từ số 1 – Ghi có TK 1112

12
TỔNG CÔNG TY THÉP Mẫu S04a1-DN
VIỆT NAM (Ban hành theo QĐ 15/2006/QĐ-BTC
91 Láng Hạ, Q.Đống Đa, HN ngày 20/3/2006 của Bộ trưởng BTC)
NHẬT KÝ CHỨNG TỪ SỐ 1
Ghi có TK 1112 – Tiền mặt ngoại tệ
Từ ngày 08/12/2008 đến ngày 08/12/2008
Đơn vị: VNĐ
STT Ngày Nợ TK 1531 Nợ TK 13311 … Cộng ps có
… … … ... … …
… 8/12/08 97.387.800 … … 97.387.800
… 8/12/08 … 9.738.780 … 9.738.780
… … … … … …
… Cộng … … … …
Đã ghi sổ cái, ngày 08 tháng 12 năm 2008
Lập ngày 8 tháng 12 năm 2008
KẾ TOÁN GHI SỔ KẾ TOÁN TỔNG HỢP KẾ TOÁN TRƯỞNG
(Ký, họ tên) (Ký, họ tên) (Ký, họ tên)
Ngoài ra kế toán tiền mặt theo dõi ngoại tệ thông qua tài khoản 007 –
Ngoại tệ các loại, chi tiết đồng USD, cụ thể qua bút toán
Có TK 007 (USD): 6,380
Cuối tháng, kế toán tiến hành đánh giá lại các khoản chênh lệch ngoại
tệ Tổng công ty đang nắm giữ tại quỹ.
13
Mẫu 2.9: Đánh giá lại các khoản ngoại tệ tại quỹ
Số tiền
Tỷ giá bq liên
NH
Dư VNĐ Đánh giá lại
Chênh lệch

TGHĐ
Dư USD 5,208 16.977 85.932.000 88.416.216 2.484.216
Dư EURO 6,890 24.291 165.360.000 167.364.990 2.004.990
Cộng - - 251.292.000 255.781.206 4.489.206
Đánh giá lại ngoại tệ tại quỹ của Tổng công ty tháng 12/2008 theo bút toán:
Nợ TK 1112: 4.489.206
Có TK 4131: 4.489.206
Tương tự, bút toán này cũng được nhập vào Bảng kê số 1 – Ghi nợ tài
khoản 1112.
Mẫu 2.10: Bảng kê số 1 – Ghi nợ TK 1112
TỔNG CÔNG TY THÉP Mẫu S04b1-DN
VIỆT NAM (Ban hành theo QĐ 15/2006/QĐ-BTC
91 Láng Hạ, Q.Đống Đa, HN ngày 20/3/2006 của Bộ trưởng BTC)
BẢNG KÊ SỐ 1
Ghi nợ TK 1112– Tiền mặt ngoại tệ
Từ ngày 1/12/2008 đến ngày 31/12/2008
Số dư đầu tháng:…
Đơn vị: VNĐ
STT Ngày Có TK 515 Có TK 4131 … Cộng ps nợ Dư cuối ngày
… … … ... … …
… 8/12/08 1.856.580 … 1.856.580 1.856.580
… … … … … …
… 31/12/08 … 4.489.206 … 4.489.206 4.489.206
Cộng
Số dư cuối tháng:…
Đã ghi sổ cái, ngày 31 tháng12 năm 2008
Lập 31 tháng12 năm 2008
KẾ TOÁN GHI SỔ KẾ TOÁN TỔNG HỢP KẾ TOÁN TRƯỞNG
(Ký, họ tên) (Ký, họ tên) (Ký, họ tên)
Sổ chi tiết tài khoản 1112 được máy tính tự động cập nhật từ nhật ký

chứng từ số 1 (mẫu 2.8 – trang 33), bảng kê số 1 (mẫu 2.10 – trang 34), và
các bảng kê, nhật ký chứng từ khác có liên quan. Trích mẫu sổ chi tiết tài
khoản 1112 tháng 12/2008 của Tổng công ty như sau:
14
Mẫu 2.11: Sổ chi tiết tài khoản – TK 1112
TỔNG CÔNG TY THÉP VIỆT NAM Mẫu S38-DN
91 Láng Hạ, Q.Đống Đa, HN (Ban hành theo QĐ số 15/2006/QĐ-BTC
ngày 20/3/2006 của Bộ trưởng BTC)
SỔ CHI TIẾT TÀI KHOẢN
Tài khoản 1112 – Tiền mặt ngoại tệ
Từ ngày 01/12/2008 đến ngày 31/12/2008
Số dư nợ đầu kỳ: 1.024.257.560
Đơn vị: VNĐ
Chứng từ
Khách hàng Diễn giải TK đối ứng
Số phát sinh
Ngày Số Nợ Có
… … … … … … …
8/12/08 PC 27
Cty TNHH Bách
Khoa
Chi mua máy vi tính cho văn phòng 1531 97.387.800
8/12/08 PC 28
Cty TNHH Bách
Khoa
Chi thuế GTGT được khấu trừ 13311 9.738.780
8/12/08 Điều chỉnh chênh lệch tỷ giá 515 1.856.580
…. … … … … … …
31/12/08 Đánh giá lại ngoại tệ tại quỹ 4131 4.489.206
Tổng phát sinh nợ: 9.259.579.254

Tổng phát sinh có: 9.344.066.707
Số dư nợ cuối kỳ: 939.770.107
Ngày 31 tháng 12 năm 2008
NGƯỜI GHI SỔ KẾ TOÁN TRƯỞNG
15
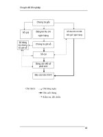
2.2.3 Kế toán tổng hợp tiền mặt tại quỹ
Do Tổng công ty sử dụng phần mềm kế toán máy để thực hiện công
việc kế toán nên cuối tháng, máy tính sẽ tự động tổng hợp các dữ liệu đã được
nhập trong kỳ để tạo ra các sổ tổng hợp, các Báo cáo tài chính và Báo cáo
quản trị phục vụ nhu cầu quản trị của Tổng công ty.
Sổ cái tài khoản 111 được tổng hợp từ các nhật ký chứng từ số 1 và
bảng kê số 1 được lập trong kỳ. Các số liệu từ nhật ký chứng từ số 1 (mẫu 2.4
trang 29 và mẫu 2.8 trang 33), bảng kê số 1 (mẫu 2.2 trang 27 và mẫu 2.10
trang 34) được sử dụng để ghi vào sổ cái tài khoản 111. Sau đây là trích dẫn
Sổ cái tài khoản 111 được lập vào ngày 31/12/2008:
16
17
Mẫu 2.12: Sổ cái TK 111
TỔNG CÔNG TY THÉP VIỆT NAM Mẫu S05-DN
91 Láng Hạ, Q.Đống Đa, HN (Ban hành theo QĐ số 15/2006/QĐ-BTC
ngày 20/3/2006 của Bộ trưởng BTC)
SỔ CÁI TÀI KHOẢN 111
Năm 2008
Đơn vị: VNĐ
TK đối ứng Tháng 1 Tháng 2 … … Tháng 11 Tháng 12
… … … … … … …
13111 … … … … … 3.695.100
… … … … … … …
515 … … … … … 1.856.580
… … … … … … …

311 … … … … … 50.000.000
4131 … ... … … … 4.489.206
… … … … … … …
Cộng ps nợ … … … … … 618.041.900
Cộng ps có … … … … … 785.403.197
Dư nợ cuối tháng … … … …. 2.706.835.952 2.539.474.653
Dư có cuối tháng
Ngày 31 tháng 12 năm 2008
Người ghi sổ Kế toán trưởng
(Chữ ký, họ tên) (Chữ ký, họ tên)
Số dư đầu năm
Nợ Có
3.157.158.000

×